|  |
Непрерывное измерение
Датчики серии EG
FineTek, Магнитострикционные датчики уровня
Магнитострикционные датчики уровня серии EG
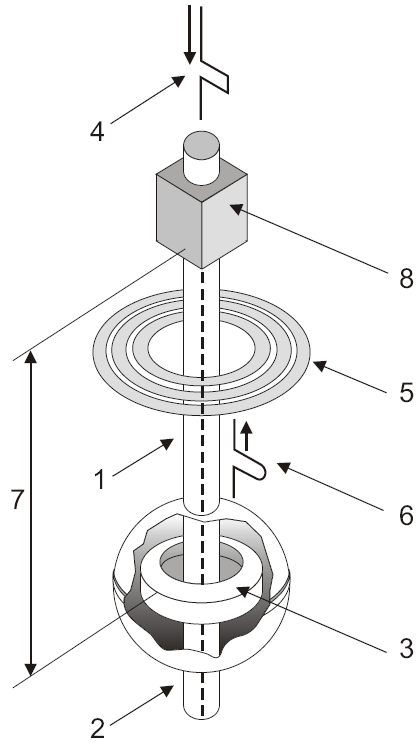
Магнитострикционный датчик серии EG состоит из волновода (1), расположенного внутри стержня (2), и внешнего постоянного магнита внутри поплавка (3). Датчик посылает сигнал (4), который создает магнитное поле (5), распространяющееся вдоль волновода. С другой стороны, постоянный магнит внутри поплавка создает другое магнитное поле. При пересечении этих двух магнитных полей возникает т.н. торсионная волна (6), которая распространяется вдоль волновода со скоростью звука. Она улавливается электронной начинкой датчика (8), которая вычисляет расстояние (7). Расстояние затем преобразуется в выходной сигнал датчика 4-20мА.

Свойства магнитострикционных датчиков
- Высокая точность и разрешающая способность
- Малое время отклика
- Высокая стабильность и надежность метода измерения
- Высокая степень защиты - IP66
Области применения магнитострикционных датчиков
Измерение уровней жидкостей в таких отраслях промышленности, как нефтехимия (сжиженный газ, нефтепродукты), фармацевтика, водоснабжение и канализация, химия, и пр.
Основные технические характеристики датчиков серии EG
- Рабочая температура от -20 до +70 гр.С
- Рабочее давление - до 30 Бар
- Длина чувствительного элемента - по согласованию с производителем
- Напряжение питания =24В
- Выход 4-20мА, 0-10В, RS-232, RS-485, Modbus RTU,ASCII
- Точность 0,01%
Более подробную информацию о датчиках можно посмотреть по этой ссылке
|
Информация для заказа
|  |
| |
| |
| |
|
| Публикации |
|
Промислові комп'ютери мають нормовані показники напрацювання на відмову (MTBF), що досягають сотень тисяч годин безперервної роботи |
|
читать
|
|
Забезпечуючи гарантований час процесорної обробки кожної програмної підсистеми, адаптивна декомпозиція помітно скорочує трудовитрати на інтеграцію всієї системи. |
|
читать
|
|
Завдяки розробкам компанії Adobe Systems, понад 300 мільйонів мобільних пристроїв мають графічний інтерфейс користувача (ГПІ/GUI), створений на основі технології Adobe Flash. |
|
читать
|
|
Після завантаження системи в багатьох додатках, що вбудовуються, повинні бути виконані певні дії протягом жорстко обмеженого тимчасового відрізка. |
|
читать
|
|
Опис різних варіантів створення насосної станції з каскадним керуванням, аналіз їх переваг та недоліків, вибір раціонального варіанту, опис необхідного обладнання |
|
читать
|
|
Розробники систем, що вбудовуються, виявляють все більший інтерес до операційної системи Linux. Тим не менш, стандартне ядро Linux не забезпечує передбачуваний час відгуку. |
|
читать
|
|
Архив публикаций |
|
|
|